ネジショップはネジ(ねじ)・ボルト・ワッシャー・ナット・リベット類の規格品を法人・個人向けに販売する通販サイト。

96万種類以上の寸法や規格から購入可能で止め輪・ピン・ いたずら防止ネジ・樹脂ねじ・六角穴付ボルトも充実。バラ売り商品拡大中。

10800円以上で送料無料。

 

トップ > いたずら防止ねじ > 標準(または鉄) > BC(黒クロメート) > LRトラス小ねじ(タンパー 《標準(または鉄)/BC(黒クロメート)》
小ねじ > 標準(または鉄) > BC(黒クロメート) > LH・LR > LRトラス小ねじ(タンパー 《標準(または鉄)/BC(黒クロメート)》

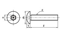
LRトラス小ねじ(タンパー 《標準(または鉄)/BC(黒クロメート)》

商品名:LRトラス小ねじ(タンパー 《標準(または鉄)/BC(黒クロメート)》

商品コード : 71000R13-10410
価格 : 円(税込円)
数量
 

▼ 下記商品リストからご希望の商品をお選びください。
規格/入数/価格/商品ID/出荷目安(△:2週間前後○:3営業日)

選択
LRトラスコ(タンパー 4 X 8 1000個 10335円 ID1255434 △

ショッピングカートに入れる すぐに注文する
  • お気に入りリスト
  • 商品についての問い合わせ

商品画像は白黒のため、実際の商品とは異なります。




この商品についてのレビュー

  ニックネーム : 評点 :
内容 :
レビューを書く
入力された顧客評価がありません

ページトップへ